Demak Sprinter 125 2020 — Технические данные и фотографии
Мы собираемся показать вам все технические данные и характеристики мотоцикла Demak Sprinter 125. Он был представлен миру в 2020 году и был доступен в разных вариантах отделки и с разным рабочим объемом.

Этот прекрасный мотоцикл дорога впервые появился на рынке в 2020 году. Поэтому модели велосипеда уже 2 лет.
Чтобы подытожить технические характеристики этого мотоцикла, скажем, что он имеет рабочий объем 125,0 cm3 и полную мощность 9,1 л.с. (6,6 кВт) на одноцилиндровый двигатель, 4-тактный с электрический запуск стартером.
Мы предлагаем вам ознакомиться с информацией, деталями и техническими характеристиками этого фантастического мотоцикла.
| ОБЩИЕ СПЕЦИФИКАЦИИ | |
|---|---|
| Сделать | Demak |
| Модель | Sprinter 125 2020 |
| Год | 2020 |
| Категория | Дорога |
| ДВИГАТЕЛЬ И ТРАНСМИССИЯ | |
|---|---|
| Смещение | 125,0 cm3 (7,63 ci) |
| Тип двигателя | Одноцилиндровый двигатель, 4-тактный |
| Power | 9. 1 hp (6.6 kw) |
| Принять | Впуск через карбюратор |
| Зажигание | Электронное цифровое зажигание CDI |
| Охлаждение | С воздушным охлаждением |
| Передача | 4-скоростной |
| Окончательная передача | Цепной привод |
| РАЗМЕРЫ И ВОЗМОЖНОСТИ | |
|---|---|
| Пустой вес | 105,0 kg (231,5 kg) |
| Отношение мощности к весу | 0,0867 л.с./фунт (0,1911 л.с./фунт) |
| Общая длина | 1745 mm (68,7 cala) |
| Габаритная ширина | 760 mm (29,9 дюйма.) |
| ШАССИ, ПОДВЕСКА И КОЛЁСА | |
|---|---|
| Передняя подвеска | Телескопические вилы |
| Задняя подвеска | Одиночный удар |
| Передняя шина | 120/70-12 |
| Задняя шина | 130/70-12 |
| Передние тормоза | Передние дисковые тормоза |
| Задние тормоза | Задние дисковые тормоза |
| Колеса | Сплавные обода |
| ДРУГИЕ ХАРАКТЕРИСТИКИ | |
|---|---|
| Стартовый | Электрический запуск |
| Электрический | Аккумулятор 12В/5Ач |
Первая модель этого велосипеда была выпущена в 2020 году.
Мощность Demak Sprinter 125 составляет 9,1 л.с. (6,6 кВт).
DEMAK SPRINTER 125 имеет собственный вес 105,0 kg.
Внешние различия: спринтер и стайер
Спортсменов на длинные и короткие дистанции можно отличить по экстерьеру. Спринтеры, как правило, обладают атлетической фигурой, с хорошо развитым мышечным каркасом. Марафонцев можно узнать по худощавому телосложению, относительно небольшому весу и средним показателям роста. Чем легче бегун, тем меньше риск травмированности и ниже нагрузка на суставы и связки.
Кроме чисто внешних данных эти две группы спортсменов различаются по способу адаптации к среде, темпу деятельности. Спринтеры легко и быстро могут приспособиться к любой среде, перестраиваются физиологически и психологически, но плохо воспринимают длительное неблагоприятное воздействие. Стресс они переживают относительно легко.
Стайеры адаптируются долго, склонны к монотонной деятельности, настроены на достижение цели. Стайеры не могут привыкнуть к экстремальному стрессу, они склонны к хроническим болезням. Для них характерно постепенное наращивание мощностей и ресурсов организма.
Система охлаждения Mercedes-Benz Sprinter
4.1. Охлаждающая жидкость
4.1.1. Замена охлаждающей жидкости
4.1.2. Антифриз
4.2. Радиатор
4.2.1. Проверка радиатора
4.2.2. Снятие и установка радиатора
4.3. Насос охлаждающей жидкости
4.3.1. Снятие и установка насоса охлаждающей жидкости
4.4. Приводной ремень
4.5. Вискомуфта вентилятора
4.6. Термостат
4.6.1. Нарушения в работе термостата
4.6.2. Проверка термостата
4.7. Проверка системы охлаждения и ее неисправности
4.7.1. Проверка системы охлаждения
4.7.2. Проверка датчика уровня охлаждающей жидкости
4.7.3. Перегрев двигателя
4.7.4. Проверка плотности охлаждающей жидкости
4.8. Шланги системы охлаждения
Только 1/4 часть всей энергии, полученной от сгорания топлива, идет на совершение полезной работы. Остальная энергия переходит в тепловую энергию, теряется с отработавшими газами и отводится системой охлаждения.
Охлаждающая жидкость циркулирует под действием насоса, который, как и прочие дополнительные агрегаты, приводится в действие ременной передачей от коленчатого вала.
Для регулирования теплового режима системы охлаждения служит термостат, расположенный в специальном корпусе. В зависимости от необходимой степени охлаждения термостат регулирует циркуляцию жидкости через радиатор. Различают три фазы работы термостата: прогрев (охлаждающая жидкость не поступает в радиатор), рабочий режим (переменная циркуляция жидкости через радиатор) и максимальное охлаждение (вся жидкость проходит через радиатор).
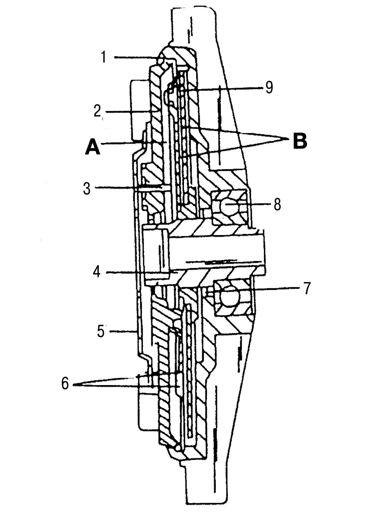
| Рис. 134. Вискомуфта вентилятора системы охлаждения (поперечный разрез): 1 – корпус; 2 – крышка; 3 – контактный штифт; 4 – втулка подшипника; 5 – биметаллический элемент; 6 – клапан; 7 – уплотнительное кольцо; 8 – шариковый подшипник; 9 – приводной диск; А – предварительная камера; В – рабочая камера |
Для более эффективного охлаждения жидкости, проходящей через радиатор, за ним установлен вентилятор. Он дополняет охлаждающее действие встречного потока воздуха при движении, прогоняя его через радиатор. Вентилятор приводится в действие через вискомуфту, расположенную по центру крыльчатки и управляемую в зависимости от температуры биметаллической пружиной. Специальный силиконовый наполнитель в вискомуфте приводит в движение вентилятор, когда необходимо охлаждение. При холодном двигателе приводной механизм вискомуфты разомкнут и вентилятор вращается на малых оборотах. При повышении рабочей температуры до 85–90° С механизм вискомуфты срабатывает и частоты вращения вентилятора и двигателя становятся равными. На
Рис. 121. Контрольная лампа давления масла |
| Рис. 135. Расположение расширительного бачка системы охлаждения |
Если при разгоне автомобиля или при прохождении поворота загорается контрольная лампа в комбинации приборов (справа от лампы давления масла, показанной на рис. 121), количество охлаждающей жидкости в системе недостаточно. В этом случае следует остановить автомобиль и долить охлаждающую жидкость через наливное отверстие расширительного бачка. На рис. 135 показан расширительный бачок радиатора, который часто выполнен непрозрачным. Поэтому для проверки уровня жидкости нужно отвернуть пробку (горячий двигатель должен остыть, температура охлаждающей жидкости не должна быть выше 50° С) и долить жидкость. Если для доливки потребуется более 0,75 л, надо проверить соединения системы. С большой долей вероятности можно предположить, что в ней есть утечки охлаждающей жидкости.
В бачке расположен датчик уровня охлаждающей жидкости. Если уровень находится ниже метки MIN, контакты датчика замыкаются и загорается контрольная лампа в комбинации приборов. Через патрубок, отходящий снизу расширительного бачка, охлаждающая жидкость поступает в систему или, наоборот, обратно в бачок в зависимости от объема залитой жидкости. Верхний патрубок служит для вентиляции. Система охлаждения вентилируется самостоятельно через шаровой клапан в термостате. Крышка расширительного бачка регулирует давление в системе.
В систему охлаждения залит антифриз, объем которого зависит от типа двигателя и комплектации автомобиля кондиционером.
Насос охлаждающей жидкости закреплен четырьмя болтами через уплотнительное кольцо на блоке цилиндров. Насос не ремонтируется.
Видео про “Система охлаждения” для Mercedes-Benz Sprinter
Радиатор системы охлаждения двигателя A9065000002 Мерседес Спринтер 906 2011
https://youtube.com/watch?v=CZ84DiUSxio
Mercedes Benz w140Как и чем промыть систему охлаждения
Как чистить печка радиатор спринтер сди
Безопасность
Немецкая компания уделила вопросу безопасности в своей модернизированной версии Mercedes-Benz Sprinter максимальное внимание. Инженерный состав постарался и снабдил модель большим количеством соответствующих систем, электронных ассистентов. Например, функцией Crosswind Assist, которая позволяет обеспечивать вспомогательную защиту от бокового ветра при помощи включения тормозных устройств в автоматическом порядке
Также, в качестве отдельной опции устанавливают систему Highbeam Assist (адаптация дальнего освещения), Collison Prevention Assist (предотвращает столкновения) и Blind Spot Assist (помощник при перестроении)
Например, функцией Crosswind Assist, которая позволяет обеспечивать вспомогательную защиту от бокового ветра при помощи включения тормозных устройств в автоматическом порядке. Также, в качестве отдельной опции устанавливают систему Highbeam Assist (адаптация дальнего освещения), Collison Prevention Assist (предотвращает столкновения) и Blind Spot Assist (помощник при перестроении).
Mercedes-Benz Sprinter 2017 года
Sprinter теперь комплектуется еще одной защитной функцией, которая при аварийном торможении при скоростном режиме в 50 км/ч в автоматическом порядке заставляет стоп-сигналы автомобиля работать в режиме мерцания. Если экстренное торможение происходит при скоростном режиме в 70 км/ч, то система в автоматическом порядке включает аварийную сигнализацию.
Как упоминалось выше, немалый акцент был сделан на активной безопасности, так как работы с полной нагрузкой и в экстремальных режимах требуют предельной отдачи. Предусмотрена установка передних и боковых подушек безопасности.
Mercedes-Benz Sprinter вид сзади
Этот малотоннажный автомобиль обладает целым комплексом систем, отвечающих за обеспечение должного уровня безопасности жизни и здоровья пассажиров. На всех колесах стоят дисковые тормозные устройства, которые работают отлично даже во время резкого торможения по максимуму загруженной машины.
Оснастка включает в себя АБС/ABD. В качестве отдельной опции устанавливают противопробуксовочную систему ASR вместе с АБС, что позволяет предотвращать пробуксовку колес и гарантирует уверенное сцепление с дорогой на мокром и скользком дорожном покрытии.
Фотография обновленного Mercedes-Benz Sprinter
Для использования в трудных условиях есть версии, которые отключают систему полного привода. Не забыли предусмотреть гидравлический стояночный тормоз Duo-Servo для задних колес, который работает независимо от рабочего тормоза.
Новинка отличается хорошими деформационными характеристиками – благодаря усиленной конструкции носовой части рамы, она берет на себя большую часть силы удара во время фронтального столкновения.
Чтобы лучше обезопасить машину, можно установить в Мерседес-Бенц Спринтер подушки безопасности для водителя и сидящего рядом пассажира, и трехточечные ремни безопасности на всех креслах.
Краш тест
Новенькая модель прошла лобовые краш-тесты трех разновидностей. Первый – обязательный, по стандартам ECE R12. Необходимо разогнать автомобиль до скорости 48,3 километра в час и ударить о жесткий барьер.
Помимо этого, немцы проверяли свой микроавтобус по стандартам ECe R94 – на скорости 56 км/ч происходит столкновение с деформируемым барьером с 40-процентным перекрытием. Также компания проводила имитацию аварии в городской черте – скорость 15 км/ч, жесткий барьер без перекрытия.
По словам разработчиков удалось улучшить пассивную безопасность транспортного средства. Рулевая колонка Спринтера во время удара складывается сразу в трех областях. Подушки безопасности выстреливают не только из передней, но также и из боковых панелей (куда их можно встроить по заказу).
Подрамник передней подвески способен «выбиваться» из специально сконструированных креплений и сгибаться. Передние концы лонжеронов начинают сжиматься гармошкой, что позволяет поглощать силу столкновения.
Интерьер салона

В зависимости от стоимости и уровня оснащения салонный интерьер получит тканевую или кожаную обивку, соответствующий перечень технических и образуют комфорт опций. В новой версии Мерседес Бенц серии Спринтер 2021 комплектуется современной электроникой и системами активной безопасности.
В расширенной версии:
- видеомониторинг задней полусферы с выводом изображения на зеркала заднего вида;
- эффективные характеристики мультимедийного комплекса и электронных ассистентов;
- парковочный пакет;
- салонный климат-контроль;
- навигация и другие полезные опций.
Трехспицевый конструктив оснащенного двумя блоками командных кнопок мультируль предоставляет полный обзор комбинированного аналого-цифрового приборного щитка.

Верхний этаж центральной консоли включает в себя широкоэкранный монитор штатного мультимедийного комплекса и парный комплект вентиляционных дефлекторов.
В нижней части находится небольшая панель с элементами активации бортовых систем, техническая площадка с рычагом переключения механической или автоматической силовой передачи.
Кресла водителя и бокового пассажира оснащены удобным подголовником ,мягким наполнителем, элементами боковой поддержки и другой перечень сервисного функционала, который определяется комплектацией.
Уже в базовом варианте присутствует расширенный диапазон электрифицированных эксплуатационных регулировок, контуры подогрева и вентиляции посадочных мест.
Чем отличается новый Mercedes Sprinter российской сборки
Главным отличием нового старого Спринтера от оригинальной машины следует назвать электронные системы безопасности, которые пришли из списка стандартного оснащения следующего поколения. Прежде всего, это ESP – система стабилизации курсовой устойчивости. Благодаря ей, слететь с дороги в дождь на заднеприводном автобусе даже при желании весьма непросто. Кстати, полноприводная трансмиссия недоступна даже за доплату. Но это не проблема. Стандартное шасси прекрасно исправляет ошибки пилота, если он, например, зайдет в поворот с избыточной скоростью.
В таком случае система тотчас снижает объем подачи топлива и при необходимости подтормаживает определенные колеса. Специально для российского рынка была пересмотрена конструкция подвески (и это на фоне не самых лучших аргентинских дорог). Во-первых, переднюю рессору из композитного материала заменили более прочной стальной. Во-вторых, задние рессоры разжились третьими листами. Замене также подлежали амортизаторы и стабилизатор поперечной устойчивости. Таким образом, подвеска идеально подходит не только для федеральных дорог, городских проспектов, но и для откровенного бездорожья, проселочных грунтовок.
Комплектация автомобиля «Мерседес Спринтер пассажирский»
| 1 | Полное остекление кузова (вклеенные стёкла). |
| 2 | Термошумоизоляция потолка, пола, дверей, стен. |
| 3 | Вентиляционный аварийный металлический люк. |
| 4 | Освещение салона. |
| 5 | Пассажирские сиденья с высокой спинкой (обивка треплированная ткань) с ремнями безопасности. |
| 6 | Внутренняя отделка пластиковые композитные панели. |
| 7 | Отопитель салона тосольного типа, 8 кВт с распределением потока на 3 дефлектора. |
| 8 | Настил пола фанера + напольное, антискользящее покрытие. |
| 9 | Запирающее устройство задних дверей. |
| 10 | Поручни салона. |
| 11 | Боковая подножка. |
| 12 | Система вытяжки. |
| 13 | Молотки аварийные (2шт). |
| 14 | Электропривод сдвижной двери реечный. |
Отличительные черты а/м
На Mercedes Benz Sprinter 515 CDI можно установить стандартный и рефрижераторный фургон, самосвал с трехсторонней выгрузкой и т.д. В зависимости от выбранного типа надстройки определяется область применения грузовика:
- бортовая платформа характеризуется увеличенными показателями комфортности и вместительности (три типа колесной базы и площадь платформы 4,3 м2, 8,7 м2, 9,1 м2);
- изотермический фургон – перевозка товаров с соблюдением температурного режима;
- маршрутное такси – перевозка пассажиров и грузов в пределах города, а также за его чертой;
- микроавтобус характеризуется комфортом и многофункциональностью, в нем можно изменять размеры и вместительность грузового отсека;
- промтоварный фургон автомобиля Mercedes Benz Sprinter 515 используется для транспортировки грузов и товаров;
- туристический автобус – поездки за переделы города и прием делегаций;
- фургон – универсальный транспорт, имеющий обширную область применения;
- шасси имеет широкие возможности надстройки.

Ссылки
| п • о • р « предыдущие — Автомобили Mercedes-Benz, 1990–н.в. | |||||||||||||||||||||||||||
| Класс | Тип | 1990-е | 2000-е | 2010-е | |||||||||||||||||||||||
| 1 | 2 | 3 | 4 | 5 | 6 | 7 | 8 | 9 | 1 | 2 | 3 | 4 | 5 | 6 | 7 | 8 | 9 | 1 | 2 | 3 | 4 | 5 | 6 | 7 | 8 | ||
| Хетчбэк | W168 | W169 | W176 | ||||||||||||||||||||||||
| W245 | W246 | ||||||||||||||||||||||||||
| Седан | W201 | W202 | W203 | W204 | W205 | ||||||||||||||||||||||
| Универсал | S202 | S203 | S204 | S205 | |||||||||||||||||||||||
| Седан | W124 | W210 | W211 | W212 | W213 | ||||||||||||||||||||||
| Лимузин | V124 | V212 | V213 | ||||||||||||||||||||||||
| Универсал | S124 | S210 | S211 | S212 | S213 | ||||||||||||||||||||||
| Седан | W126 | W140 | W220 | W221 | W222 | ||||||||||||||||||||||
| Лимузин | V126 | V140 | V220 | V221 | V222 | ||||||||||||||||||||||
| VF140 | VF220 | ||||||||||||||||||||||||||
| CLA | 4-дверное Купе | C117 | |||||||||||||||||||||||||
| Shooting brake | X117 | ||||||||||||||||||||||||||
| CLS | 4-дверное Купе | W219 | W218 | C257 | |||||||||||||||||||||||
| Shooting brake | X218 | ||||||||||||||||||||||||||
| CLC / | Купе | CL203 | CL203 | C204 | C205 | ||||||||||||||||||||||
| Кабриолет | A205 | ||||||||||||||||||||||||||
| CLK / | Купе | C124 | C208 | C209 | C207 | С238 | |||||||||||||||||||||
| Кабриолет | A124 | A208 | A209 | A207 | A238 | ||||||||||||||||||||||
| Купе | C126 | C140 | C215 | C216 | C217 | ||||||||||||||||||||||
| Кабриолет | A217 | ||||||||||||||||||||||||||
| SLK / SLC | Родстер | R170 | R171 | R172 | |||||||||||||||||||||||
| R129 | R230 | R231 | |||||||||||||||||||||||||
| SLS | Купе | C197 | |||||||||||||||||||||||||
| Родстер | R197 | ||||||||||||||||||||||||||
| SLR | Купе | C199 | |||||||||||||||||||||||||
| Родстер | R199 | ||||||||||||||||||||||||||
| Спидстер | Z199 | ||||||||||||||||||||||||||
| GT купе | C190 | ||||||||||||||||||||||||||
| GT родстер | R190 | ||||||||||||||||||||||||||
| Vaneo | Минивэн | W414 | |||||||||||||||||||||||||
| W251 | |||||||||||||||||||||||||||
| W447 | |||||||||||||||||||||||||||
| GLA | Кроссовер | X156 | |||||||||||||||||||||||||
| GLK / GLC | SUV | X204 | X253 | ||||||||||||||||||||||||
| Купе | C253 | ||||||||||||||||||||||||||
| / GLE | SUV | W163 | W164 | W166 | |||||||||||||||||||||||
| Купе | C292 | ||||||||||||||||||||||||||
| / GLS | SUV | X164 | X166 | ||||||||||||||||||||||||
| Внедорожник | W460/461 | ||||||||||||||||||||||||||
| W463 | |||||||||||||||||||||||||||
| Citan | LCV | W415 | |||||||||||||||||||||||||
| Vito & Viano | MB100 | W638 | W639 | W447 | |||||||||||||||||||||||
| Sprinter | W901 — W905 | NCV3 | |||||||||||||||||||||||||
| Vario | W670 | ||||||||||||||||||||||||||
| Класс | Тип | 1 | 2 | 3 | 4 | 5 | 6 | 7 | 8 | 9 | 1 | 2 | 3 | 4 | 5 | 6 | 7 | 8 | 9 | 1 | 2 | 3 | 4 | 5 | 6 | 7 | 8 |
| 1990-е | 2000-е | 2010-е |
Второе поколение
Mercedes-Benz Sprinter W906
Mercedes-Benz Sprinter W906 на Викискладе
Общие данные
| Производитель | Mercedes-Benz |
| Годы пр-ва | 2006 — настоящее время |
| Иные обозначения | Dodge Sprinter Freightliner Sprinter Chrysler Sprinter |
Дизайн
Двигатели
2,1 L OM 646 CDI l4 3,0 L OM642 CDI V6 3,5L M272 V6
Трансмиссия
6-скор МКПП 6-скор АКПП
Вид сзади
Mercedes-Benz Sprinter после рестайлинга 2014 года
Модель 515 CDI микроавтобуса фирмы Эгед в Хайфе, Израиль
Второе поколение Sprinter был представлено в Европе в 2006 году. Выиграл награды Van of the Year 2007 и 2008.
Также известный как NCV3 или New Concept Van 3. NCV3 появился в Европе и в других странах как модель 2006 модельного года. Северная Америка получила NCV3 как модель 2007 модельного года.
Грузовая версия в США поставляется в двух вариантах колесной базы (3660 мм, 4320 мм), в двух вариантах высоты крыши (стандарт 1540 мм, высокая 1840 мм), четыре варианта длины (короткая 5930 мм, стандартная 6970 мм, удлинённая 7360 мм), и два варианта веса (2500, 3500 кг). Вариант 3500 кг имеет двойные задние колёса или задние сверхширокие шины.
Для 2014 модельного года Sprinter получил более стильную и вертикальную решетку радиатора. Sprinter также получил несколько новых технологий помощи водителю, включая стандартные Crosswind Assist, опционально Blind Spot Assist и Collision Prevention Assist, а также Lane Keeping Assist и Highbeam Assist. Sprinter имеет новые светодиодные ходовые огни. Пневматическая подвеска доступна на модели 3500-й серии. Sprinter также получил несколько новых опций, включая навигацию и интеграцию IPod.
С 2013 года микроавтобус начал собираться на конвейере нижегородского завода ГАЗ.
Количество стартов
Еще одним показателем разницы между спортсменами легкоатлетами на короткие и длинные дистанции является численность стартов. Старт требует от спринтера взрывной силы и техники, поэтому у спринтеров частые старты. По среднегодовым показателям число стартов спринтеров достигает нескольких десятков раз, при этом они могут многократно стартовать в течение одних соревнований. Восстановление происходит быстрее, чем у стайеров.
Марафонцы максимально выступают на трех стартах. Восстановительный период после стайерского бега занимает порядка трех недель. Начинающим бегунам следует помнить, что повышенное количество стартов на марафонские и полумарафонские дистанции для организма являются сложными и изнурительными.
Fastest van track battle: Transit vs Sprinter
Форд Транзит однозначно лучше чем Пежо Боксер. Лучше своей беспроблемностью, надёжностью, неубиваемостью. Есть знакомые которые имеют их и в хвост и в гриву и очень довольны.
Хочу купить микроавтобус для городских маршрутных перевозок, остановил свой выбор на Ford Transit и Peugeot Boxer. Может кто ли сказать о «+» и «-» данных авто, исходя из личного опыта эксплуатации.
Любопытно!
За всю свою историю логотип компании изменялся 8 раз, при этом само название Ford никогда не исчезало с эмблемы.
История логотипа.
Эмблема логотипа Пежо менялась несколько раз на протяжении всей истории фирмы. Однако основной символ компании – лев, никогда не исчезал с нее. Изначально, когда, Peugeot выпускало пилы и другие режущие инструменты, лев олицетворял прочность продукции, такую же как зубы льва.
Ford Transit — один из лучших микроавтобусов для перевозки пассажиров. Peugeot Boxer — выносливый младший брат Форда. Качественные показатели для работы в качестве маршрутного такси показал и Пежо Боксер.
Форд некоторые называют рабочей лошадкой и это правда. Купили в автограде дукатовский. По мне так Форд выгодней и надежней. Из изученного понял, что «рабочую лошадку», без какого-то пафоса внутренней отделки салона, опций и пр. Есть достаточное кол-во статеек про слабые места, чё ломается, когда, как и т.
Мощное и экономичное движение вперед
Четыре вида двигателей
Автомобили Sprinter комплектуются 4-цилиндровым дизельным двигателем с тремя вариантами мощности и 6-цилиндровым V-образным дизельным двигателем. Надежные двигатели удалось сделать более экономичными. Так, сокращение трения внутри двигателя привело к уменьшению расхода топлива. Все виды двигателей предлагаются как с механической1, так и с автоматической коробкой передач.
Строгие требования экологического класса Евро-6 (Евро VI) соблюдаются при помощи внедрения технологии SCR (селективная каталитическая нейтрализация). Эта технология уменьшает содержание оксидов азота в выбросах дизельных двигателей. Отработанные газы пропускаются через катализатор, а оксиды азота2 превращаются в азот и воду за счет добавления присадки AdBlue на водной основе.
Это интересно: Рефрижераторы Ford Transit и похожие модели других производителей: поясняем суть
Эксплуатация дизельного двигателя Mercedes Sprinter
В процессе эксплуатации дизельных моторов Спринтер собственники коммерческих авто отмечают такие характерные проблемы как:
- лопается коленчатый вал;
- намертво прикипают к «колодцам» свечи накаливания;
- достаточно быстро вытягивается цепь ГРМ (кстати, все моторы на Спринтере цепные).
Но многие «болезни» Sprinter связаны с неаккуратной эксплуатацией, мотор может прослужить значительно дольше, если выполнять некоторые требования:
- менять моторное масло в ДВС через каждые 8000-10000 км пробега, а не через 20-25 тыс. км, как это делают многие;
- заправлять авто только качественным дизельным топливом;
- не нагружать постоянно машину до предела (не стоить регулярно грузить по 2,5-3 тонны), тогда и не будет ломаться от нагрузки коленвал;
- следить за состоянием натяжителей и успокоителей цепного привода (при появлении шума в ГРМ сразу же проводить диагностику с заменой дефектных деталей), тогда и цепь газораспределительного механизма прослужит дольше.
Прикипание свечей накаливания к посадочным местам – достаточно серьезная проблема, но есть вариант, с помощью которого ее можно попробовать решить. Для этого нужно вокруг свечных колодцев набрызгать WD-40 или другим «жидким ключом», желательно не просто дать «отмокнуть» свечам, но и по возможности пару дней поездить на машине. Обычно такой способ помогает, и свечи отворачиваются, хотя и не так легко, как хотелось бы.

Если такой метод все же не помог, не стоит торопиться снимать головку блока. При аккуратном высверливании остатков свечей нужно только тщательно продуть цилиндры, но вот мотор все равно придется демонтировать с автомобиля.
Модификации Mercedes Sprinter
Mercedes Sprinter 211 CDI MT
| Максимальная скорость, км/ч | – |
| Время разгона до 100 км/ч, сек | – |
| Двигатель | Дизельный c турбонаддувом |
| Рабочий объем, см3 | 2143 |
| Мощность, л.с. / оборотах | 129/3800 |
| Момент, Н·м / оборотах | 305/1200-2400 |
| Расход комби, л на 100 км | 7.2 |
| Тип коробки передач | Механическая, 6 передач |
| Привод | Задний |
| Показать все характеристики |
Mercedes Sprinter 215 CDI MT
| Максимальная скорость, км/ч | – |
| Время разгона до 100 км/ч, сек | – |
| Двигатель | Дизельный c турбонаддувом |
| Рабочий объем, см3 | 2143 |
| Мощность, л.с. / оборотах | 163/3800 |
| Момент, Н·м / оборотах | 360/1400-2400 |
| Расход комби, л на 100 км | 7.2 |
| Тип коробки передач | Механическая, 6 передач |
| Привод | Задний |
| Показать все характеристики |
Mercedes Sprinter 319 CDI MT
| Максимальная скорость, км/ч | – |
| Время разгона до 100 км/ч, сек | – |
| Двигатель | Дизельный c турбонаддувом |
| Рабочий объем, см3 | 2987 |
| Мощность, л.с. / оборотах | 190/3800 |
| Момент, Н·м / оборотах | 440/1400-2400 |
| Расход комби, л на 100 км | 9.3 |
| Тип коробки передач | Механическая, 6 передач |
| Привод | Задний |
| Показать все характеристики |
Mercedes Sprinter 324 AT
| Максимальная скорость, км/ч | – |
| Время разгона до 100 км/ч, сек | – |
| Двигатель | Бензиновый |
| Рабочий объем, см3 | 3498 |
| Мощность, л.с. / оборотах | 258/5900 |
| Момент, Н·м / оборотах | 340/2500-5000 |
| Расход комби, л на 100 км | – |
| Тип коробки передач | Автоматическая, 5 передач |
| Привод | Задний |
| Показать все характеристики |
Плюсы и минусы
Плюсы машины
- Благодаря последнему рестайлингу автомобиль смотрится более стильно и современно;
- Улучшенная передняя оптика;
- Приятные стильные кузовные линии;
- Есть модификации с системой полного привода;
- Улучшенные силовые агрегаты;
- Большой выбор модификаций автомобиля;
- На выбор предоставляются различные моторы и коробки переключения передач;
- Разные электронные системы, призванные помогать в управлении автомобилем;
- Хорошее обеспечение безопасности;
- Улучшенный салон машины;
- Хорошие динамические характеристики;
- Качественная сборка;
- Долгосрочная работа многих элементов технического оснащения;
- Умеренное потребление топлива;
- В кузове фургон удобно перевозить разнообразный груз;
- Эргономичный салон;
- Есть цветной дисплей на центральной консоли;
- Хорошая управляемость;
- Распространенность запасных частей;
- Вместительность;
- Надежная подвеска.
Минусы машины
- Высокая цена запчастей
- Слабая устойчивость к коррозии;
- Требовательность к топливу;
- Неудобно использовать в зимнее время варианты с задним приводом;
- Слабая шумовая изоляция.
Комплектации и цены
Если брать среднюю стоимость на немецкий автомобиль в кузове фургон, то модель, собранная на территории Российской Федерации, будет стоить от 1 170 000 рублей за штатную комплектацию. Цена «топовой» вариации версии «Corporate Bus» будет начинаться с 1 590 000 рублей. Пассажирские модификации оцениваются от 1 450 000 рублей.
Отечественный авторынок имеет такие модификации машины:
- Фургон с колесной базой 3 550 либо 4 025 мм – стоит от 1 220 000 руб.;
- Модели маршрутного такси на 17+1 посадочное место в стоковой комплектации – от 1 458 000 рублей, в версии «Advanced» – 1 483 000 руб.;
- Версия маршрутного такси на 20+1 посадочное место стоит от 1 544 000 рублей.
На вторичном рынке за модели 2014-2015 годов нужно будет заплатить от 1 300 000 рублей. Экземпляры 2008-2009 годов оцениваются, естественно, дешевле – от 700 000 рублей.
Mercedes-Benz Sprinter 2015 года
Не стоит забывать, что покупать автомобиль в грузовом исполнении намного лучше, чем пассажирскую версию. Объяснить это достаточно легко– пассажирские варианты отличаются особенным способом эксплуатации – их применяют в роли маршрутного такси, посему наработка в режиме разгон/торможение у них больше. Фургоны эксплуатируются в более щадящем режиме.


1 hp (6.6 kw)




































