Коленчатый вал
Коленчатый вал передает усилия от поршней к агрегатам и механизмам силовой передачи автомобиля. Коленчатый вал состоит из коренных 4 и шатунных 3 шеек, щек 2, носка 1, хвостовика 6 и противовесов 5.
Коренными шейками коленчатый вал опирается на коренные подшипники, расположенные в картере. Количество их может быть различным. По числу коренных шеек коленчатые валы разделяются на двух-, трех-, четырехопорные и т.п.
Шатунные шейки соединяют коленчатый вал с нижней головкой шатуна; диаметр их несколько меньше диаметра коренных шеек. Количество шеек зависит от количества и расположения цилиндров двигателя. Так, при рядном расположении цилиндров оно совпадает с количеством цилиндров.
Щеки связывают шатунные и коренные шейки и образуют вместе с шатунными шейками кривошипы коленчатого вала. Расположение кривошипов на валу зависит от порядка работы цилиндров двигателя.
Носок коленчатого вала используется для установки распределительной шестерни, шкива привода вентилятора и храповика для запуска двигателя при помощи пусковой рукоятки.
Хвостовик коленчатого вала имеет фланец, на который устанавливается маховик.
Противовесы предназначены для уравновешивания сил инерции, возникающих при движении поршней и шатунов. Уравновешивание сил инерции способствует более равномерной работе двигателя и уменьшает износ коренных шеек и подшипников коленчатого вала. Обычно они устанавливаются на коленчатых валах быстроходных двигателей с чугунными поршнями, а в двигателях с легкими алюминиевыми поршнями и жестким коленчатым валом не устанавливаются.
Для подвода масла от коренных шеек к шатунным подшипникам в щеках коленчатого вала просверливаются каналы.
Коленчатые валы изготовляются из качественных сталей ковкой или штамповкой с последующей механической и термической обработкой. Шейки коленчатого вала тщательно шлифуются и полируются.
В последнее время в автомобильной промышленности широко внедряется литье коленчатых валов из специального чугуна. Литые валы применяются, в частности, для двигателей автомобилей «Волга».
В некоторых многоцилиндровых двигателях коленчатый вал имеет значительную длину. При работе такого двигателя происходит незаметное на глаз закручивание коленчатого вала попеременно то в одну, то в другую сторону — вал начинает колебаться относительно своей оси. Такие колебания называются крутильными. Чтобы предупредить поломку вала в результате действия крутильных колебаний, на нем устанавливается специальный гаситель.
Особенности работы двигателя. Такты
Выше описана упрощенная схема работы КШМ. В действительности чтобы создать необходимые условия для нормального сгорания топливной смеси, требуется выполнение подготовительных этапов – заполнение камеры сгорания компонентами смеси, их сжатие и отвод продуктов горения. Эти этапы получили название «такты мотора» и всего их четыре – впуск, сжатие, рабочий ход, выпуск. Из них только рабочий ход выполняет полезную функцию (именно при нем энергия преобразуется в движение), а остальные такты – подготовительные. При этом выполнение каждого этапа сопровождается проворотом коленвала вокруг оси на 180 градусов.
Конструкторами разработано два типа двигателей – 2-х и 4-тактный. В первом варианте такты совмещены (рабочий ход с выпуском, а впуск – со сжатием), поэтому в таких моторах полный рабочий цикл выполняется за один полный оборот коленвала.
В 4-тактном двигателе каждый такт выполняется по отдельности, поэтому в таких моторах полный рабочий цикл выполняется за два оборота коленчатого вала, и только один полуоборот (на такте «рабочий ход») выполняется за счет выделенной при горении энергии, а остальные 1,5 оборота – благодаря энергии маховика.
Поршень
Поршень воспринимает при рабочем ходе давление газов и передает его через палец и шатун коленчатому валу двигателя.
Поршень состоит из головки 1 и юбки 14. Верхняя плоскость головки (днище) ограничивает снизу рабочую полость цилиндра и непосредственно воспринимает давление газов.
В головке поршня имеются канавки для поршневых колец.
Юбка поршня, соприкасаясь со стенками цилиндра, направляет движение поршня и передает боковое усилие от него стенкам цилиндра.
На поршень действуют силы давления газов, достигающие больших величин, силы инерции возвратно-поступательно движущихся деталей, боковые силы, возникающие при отклонении шатуна от оси цилиндра, и, наконец, сила трения между поршнем и зеркалом цилиндра. Поэтому поршень должен обладать достаточной прочностью, жесткостью и износоустойчивостью.
Кроме того, вследствие неблагоприятных условий охлаждения (тепло в основном отводится через поршневые кольца и юбку поршня к стенкам цилиндра) поршни могут нагреваться до очень высокой температуры.
Поэтому к конструкции поршня и материалу, из которого он изготовляется, предъявляются повышенные требования. Для изготовления поршней применяются алюминиевые сплавы и чугун. Несмотря на большую прочность чугунных поршней, в современном автомобилестроении предпочтение отдается поршням из алюминиевых сплавов. Алюминиевые поршни легче чугунных, а это уменьшает силы инерции и нагрузку на детали двигателя при его работе.
Алюминиевые поршни обладают большой теплопроводностью, следовательно, днища таких поршней имеют более низкую температуру нагрева, что улучшает наполнение цилиндра свежей горючей смесью и позволяет увеличить-степень сжатия. Наконец, силы трения, возникающие между поршнем и стенками цилиндра, у алюминиевых поршней меньше, чем у чугунных.
В алюминиевых поршнях в верхней части головок иногда делаются глубокие узкие канавки, уменьшающие передачу тепла от днища к поршневым кольцам, чтобы избежать пригорания колец.
В средней части поршня имеются приливы — бобышки 6 для установки поршневого пальца.
Во время работы двигателя поршень и цилиндр расширяются от нагревания. Но условия охлаждения цилиндра значительно лучше, чем условия охлаждения поршня, поэтому цилиндр расширяется меньше, чем поршень. Чтобы избежать заклинивания поршня при нагревании, поршень устанавливается в цилиндре с небольшим зазором.
Чтобы уменьшить зазор между поршнем и цилиндром (вызывающий стуки поршня при непрогретом двигателе и утечку газов), алюминиевые поршни изготавливаются с разрезной и овальной юбками. Разрезные юбки могут иметь разрез различной длины и формы (П- и Т-образные).
Материалы для производства шатунов
Шатуны производятся двумя способами — штамповкой из высокопрочной стали или литьем из чугуна. В дизелях применяются шатуны, изготовленные из легированной стали методом ковки или горячей штамповки.
В некоторых видах бензиновых двигателей устанавливаются шатуны, производимые из порошкообразных металлов методом спекания.
Из-за напряженных условий работы данная деталь КШМ должна отличаться надежностью, долговечностью и износостойкостью.
Особое внимание уделяется не только изготовлению шатунов, но и болтов крепления. Для производства болтов используются легированные виды стали, обладающие высоким коэффициентом текучести, что в несколько раз выше, чем у высокоуглеродистых сталей
Поршень
Поршень принимает на себя энергию, выделяемую при сгорании, и за счет своего перемещения преобразовывает ее в механическое действие. Состоит он из днища, юбки и бобышек для установки пальца.

Устройство поршня
Именно днищем поршень и воспринимает энергию. Поверхность днища в бензиновых моторах изначально была ровной, позже на ней стали делать углубления для клапанов, предотвращающих столкновение последних с поршнями.
В дизельных же моторах, где смесеобразование происходит непосредственно в цилиндре, и составляющие смеси туда подаются по отдельности, в днищах поршня выполнена камера сгорания – углубления особой формы, обеспечивающие более лучшее смешивание компонентов смеси.
Отличие дизельного двигателя от бензинового
В инжекторных бензиновых двигателях тоже стали применять камеры сгорания, поскольку в них тоже составные части смеси подаются по отдельности.
Юбка является лишь его направляющей в гильзе. При этом нижняя часть ее имеет особую форму, чтобы исключить возможность соприкосновения юбки с шатуном.
Чтобы исключить просачивание продуктов горения в подпоршневое пространство используются поршневые кольца. Они подразделяются на компрессионные и маслосъемные.
В задачу компрессионных входит исключение появления зазора между поршнем и зеркалом, тем самым сохраняется давление в надпоршневом пространстве, которое тоже участвует в процессе.
Если бы компрессионных колец не было, трение между разными металлами, из которых изготавливаются поршень и гильза было бы очень высоким, при этом износ поршня происходил бы очень быстро.
В двухтактных двигателях маслосъемные кольца не применяются, поскольку смазка зеркала производиться маслом, которое добавляется в топливо.
В четырехтактных смазка производится отдельной системой, поэтому чтобы исключить перерасход масла используются маслосъемные кольца, снимающие излишки его с зеркала, и сбрасывая в поддон. Все кольца размещаются в канавках, проделанных в поршне.
Бобышки – отверстия в поршне, куда вставляется палец. Имеют отливы с внутренней части поршня для увеличения жесткости конструкции.
Палец представляет собой трубку значительной толщины с высокоточной обработкой внешней поверхности. Часто, чтобы палец не вышел за пределы поршня во время работы и не повредил зеркало гильзы, он стопориться кольцами, размещающимися в канавках, проделанных в бобышках.
Это конструкция ЦПГ. Теперь рассмотрим устройство кривошипно-шатунного механизма.
Устройство кривошипно-шатунного механизма
Поршень похож на перевернутый стакан, в который укладываются кольца. На любом из них присутствуют два вида колец: маслосъемное и компрессионное. Маслосъемных обычно ставят два, а компрессионных – одно. Но бывают и исключения в виде: два таких и два таких — все зависит от типа двигателя.

Шатун изготавливается из двутаврового стального профиля. Состоит из верхней головки, которая соединяется с поршнем при помощи пальца, и нижней – соединение с коленчатым валом.
Коленчатый вал изготавливается в основном из чугуна повышенной прочности. Представляет собой несоосный стержень. Все шейки тщательно шлифуются, с соблюдением необходимых параметров. Существуют коренные шейки — для установки коренных подшипников, и шатунные – для установки через подшипники шатунов.
Роль подшипников скольжения выполняют разрезные полукольца, выполненные в виде двух вкладышей, которые обработаны токами высокой частоты для прочности. Все они покрыты антифрикционным слоем. Коренные крепятся к блоку двигателя, а шатунные — к нижней головке шатуна. Чтобы вкладыши хорошо работали, в них делают канавки для доступа масла. Если вкладыши провернуло – значит, имеется недостаточный подвод масла к ним. Это обычно происходит при засорении масляной системы. Вкладыши ремонту не подлежат.
Продольное перемещение вала ограничивают специальные упорные шайбы. С обоих концов обязательно применение различных сальников для предотвращения выхода масла из системы смазки двигателя.

К передней части коленвала крепится шкив привода системы охлаждения и звездочка, которая приводит в действие распредвал при помощи цепной передачи. На основных моделях выпускаемых сегодня автомобилей ей на замену пришел ремень. К задней части коленчатого вала крепится маховик. Он предусмотрен для устранения дисбаланса вала.
Также на нем стоит зубчатый венец, предназначенный для пуска двигателя. Чтобы при разборке и дальнейшей сборке не возникало проблем – крепеж маховика выполняется по не симметричной системе. От расположения меток его установки зависит и момент зажигания – следовательно, оптимальная работа двигателя. При изготовлении его балансируют вместе с коленчатым валом.
Картер двигателя изготавливается вместе с блоком цилиндров. Он служит основой для крепления ГРМ и КШМ. Имеется поддон, который служит емкостью для масла, а так же для защиты двигателя от деформации. Снизу предусмотрена специальная пробка для слива моторного масла.
Принцип работы КШМ
На поршень оказывают давление газы, которые вырабатываются при сгорании топливной смеси. При этом он совершает возвратно – поступательные движения, заставляя проворачиваться коленчатый вал двигателя. От него вращательное движение передается на трансмиссию, а оттуда – на колеса автомобиля.
А вот на видео показано как работает КШМ в тюнингованном ВАЗ 2106:
https://youtube.com/watch?v=jmcssqJNFTg
Основные признаки неисправности КШМ:
- стуки в двигателе;
- потеря мощности;
- снижение уровня масла в картере;
- повышенная дымность выхлопных газов.
Кривошипно-шатунный механизм двигателя очень уязвим. Для эффективной работы необходима своевременная замена масла. Лучше всего ее производить на станциях техобслуживания. Даже, если Вы недавно поменяли масло, и приходит пора сезонного ТО – обязательно перейдите на то масло, какое указано в инструкции по эксплуатации машины. Если в работе двигателя возникают какие-то проблемы: шумы, стуки – обращайтесь к специалистам – только в авторизированном центре Вам дадут объективную оценку состояния автомобиля.
Также на эту тему вы можете почитать:
Volvo S40 2003-2013 годов на вторичном рынке
Как выбрать автомобильный компрессор – Плюсы и Минусы
Подержанный Citroen C5 и особенности в уходе за ним
Новые автомобили до 700000 бывают разные
Маленький Hyundai Getz на вторичном рынке
Alex S 13 октября, 2013
Опубликовано в: Полезные советы и устройство авто
Метки: Как устроен автомобиль
Перечень неисправностей КШМ
Наиболее распространенными поломками механизма являются:
- износ и разрушение шатунных и коренных шеек коленвала;
- стачивание, выкрашивание или плавление вкладышей подшипников скольжения;
- загрязнение нагаром сгорания поршневых колец;
- перегрев и поломка колец;
- скопление нагара на поршневом днище приводит к его перегреву и возможному разрушению;
- длительная эксплуатация двигателя с детонационными эффектами вызывает прогорание днища поршня.
Сочетание этих неисправностей со сбоем в системе смазки может вызвать перекос поршней в цилиндрах и заклинивание двигателя. Устранение всех этих поломок связано демонтажом двигателя и его частичной или полной разборкой.

Ремонт занимает много времени и обходится недешево, поэтому лучше выявлять сбои в работе на ранних стадиях и своевременно устранять неполадки.
Поршневые кольца
Назначение и устройство поршневых колец обуславливается их ролью в работе кривошипных устройств. Кольца выполняются плоскими, они имеют разрез шириной в несколько десятых частей миллиметра. Их вставляют в проточенные для них кольцевые углубления на уплотнении.
Кольца выполняют следующие функции:
- Уплотняют зазор между гильзой и стенками поршня.
- Обеспечивают направление движения поршня.
- Охлаждают. Касаясь гильзы, компрессионные кольца отводят избыточное тепло от поршня, оберегая его от перегрева.
- Изолируют рабочую камеру от смазочных материалов в картере. С одной стороны, кольца задерживают капельки масла, разбрызгиваемые в картере ударами противовесов щек коленвала, с другой, пропускают небольшое его количество для смазки стенок цилиндра. За это отвечает нижнее, маслосъемное кольцо.

Смазывать необходимо и соединение поршня с шатуном. Отсутствие смазки в течение нескольких минут приводит детали цилиндра в негодность. Трущиеся части перегреваются и начинают разрушаться либо заклиниваются. Ремонт в этом случае предстоит сложный и дорогостоящий.
Устройство КШМ
Кривошипно-шатунный механизм двигателя состоит из трех основных деталей:
- Цилиндро-поршневая группа (ЦПГ).
- Шатун.
- Коленчатый вал.
Все эти компоненты размещаются в блоке цилиндров.
Назначение ЦПГ — преобразование выделяемой при горении энергии в механическое действие – поступательное движение. Состоит ЦПГ из гильзы – неподвижной детали, посаженной в блок в блок цилиндров, и поршня, который перемещается внутри этой гильзы.
После подачи внутрь гильзы топливовоздушной смеси, она воспламеняется (от внешнего источника в бензиновых моторах и за счет высокого давления в дизелях). Воспламенение сопровождается сильным повышением давления внутри гильзы. А поскольку поршень это подвижный элемент, то возникшее давление приводит к его перемещению (по сути, газы выталкивают его из гильзы). Получается, что выделяемая при горение энергия преобразуется в поступательное движение поршня.
Для нормального сгорания смеси должны создаваться определенные условия – максимально возможная герметичность пространства перед поршнем, именуемое камерой сгорания (где происходит горение), источник воспламенения (в бензиновых моторах), подача горючей смеси и отвод продуктов горения.
Герметичность пространства обеспечивается головкой блока, которая закрывает один торец гильзы и поршневыми кольцами, посаженными на поршень. Эти кольца тоже относятся к деталям ЦПГ.
Шатун
Следующий компонент КШМ – шатун. Он предназначен для связки поршня ЦПГ и коленчатого вала и передает механических действий между ними.
Шатун представляет собой шток двутавровой формы поперечного сечения, что обеспечивает детали высокую устойчивость на изгиб. На концах штока имеются головки, благодаря которым шатун соединяется с поршнем и коленчатым валом.
По сути, головки шатуна представляют собой проушины, через которые проходят валы обеспечивающие шарнирное (подвижное) соединение всех деталей. В месте соединения шатуна с поршнем, в качестве вала выступает поршневой палец (относится к ЦПГ), который проходит через бобышки поршня и головку шатуна. Поскольку поршневой палец извлекается, то верхняя головка шатуна – неразъемная.
В месте соединения шатуна с коленвалом, в качестве вала выступают шатунные шейки последнего. Нижняя головка имеет разъемную конструкцию, что и позволяет закреплять шатун на коленчатом валу (снимаемая часть называется крышкой).
Коленчатый вал
Назначение коленчатого вала — это обеспечение второго этапа преобразования энергии. Коленвал превращает поступательное движение поршня в свое вращение. Этот элемент кривошипно-шатунного механизма имеет сложную геометрию.
Состоит коленвал из шеек – коротких цилиндрических валов, соединенных в единую конструкцию. В коленвале используется два типа шеек – коренные и шатунные. Первые расположены на одной оси, они являются опорными и предназначены для подвижного закрепления коленчатого вала в блоке цилиндров.
В блоке цилиндров коленчатый вал фиксируется специальными крышками. Для снижения трения в местах соединения коренных шеек с блоком цилиндров и шатунных с шатуном, используются подшипники трения.
Шатунные шейки расположены на определенном боковом удалении от коренных и к ним нижней головкой крепится шатун.
Коренные и шатунные шейки между собой соединяются щеками. В коленчатых валах дизелей к щекам дополнительно крепятся противовесы, предназначенные для снижения колебательных движений вала.
Шатунные шейки вместе с щеками образуют так называемый кривошип, имеющий П-образную форму, который и преобразует поступательного движения во вращение коленчатого вала. За счет удаленного расположения шатунных шеек при вращении вала они движутся по кругу, а коренные — вращаются относительно своей оси.
Количество шатунных шеек соответствует количеству цилиндров мотора, коренных же всегда на одну больше, что обеспечивает каждому кривошипу две опорных точки.
На одном из концов коленчатого вала имеется фланец для крепления маховика – массивного элемента в виде диска. Основное его назначение: накапливание кинетической энергии за счет которой осуществляется обратная работа механизма – преобразование вращения в движение поршня. На втором конце вала расположены посадочные места под шестерни привода других систем и механизмов, а также отверстие для фиксации шкива привода навесного оборудования мотора.
https://youtube.com/watch?v=l3fgpccONJ4
Поршневые кольца
Поршневые кольца разделяются на компрессионные и маслосъемные. Компрессионные кольца 2 уплотняют поршень в цилиндре и тем самым предотвращают прорыв газов через зазор между поршнем и цилиндром. Через эти же кольца отводится большая часть тепла от поршня к стенкам цилиндра.
Маслосъемные кольца 5 снимают излишки масла со стенок цилиндра и препятствуют проникновению масла в камеру сгорания.
Чтобы обеспечить хорошее уплотнение поршня в цилиндре, поршневые кольца должны плотно и равномерно прилегать к внутренним стенкам цилиндров. Поэтому они выполняются разрезными и имеют форму, приближающуюся к кругу, диаметр которого в свободном состоянии больше диаметра цилиндра. Место разреза колец называется замком. При введении колец в цилиндр они сжимаются, принимают круглую форму и вследствие упругости и своей формы плотно и равномерно прижимаются к стенкам цилиндра.
Обычно в карбюраторных двигателях устанавливается на каждом поршне по два — четыре кольца. В дизелях, где давление во время сжатия и рабочего хода высокое, на поршень устанавливаются четыре компрессионных кольца.
Маслосъемные кольца имеют более сложную форму поперечного сечения, чем компрессионные кольца: в них имеются радиальные маслоотводные отверстия, выполненные так же, как и в канавке поршня.
При движении поршня вверх или вниз масло со стенок цилиндра снимается кромкой маслосъемного кольца и отводится в картер двигателя через маслоотводные отверстия в поршне.
На поршне обычно устанавливаются одно — два маслосъемных кольца: на головке после компрессионных колец или на нижней части юбки поршня.
Для повышения упругости поршневых колец между кольцом и поршнем на двигателях некоторых типов устанавливают пружинящие стальные кольца, называемые расширителями 7. Расширитель повышает работоспособность кольца при его износе.
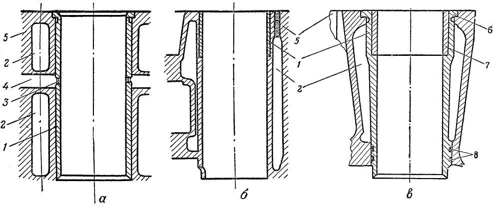
Гильза

Съёмная гильза
Гильзы существуют двух типов – сделанные непосредственно в блоке и являющиеся их частью, и съемные. Что касается выполненных в блоке, то представляют они собой цилиндрические углубления в нем нужной высоты и диаметра.
Съемные же имеют тоже цилиндрическую форму, но с торцов они открыты. Зачастую для надежной посадки в свое посадочное место в блоке, в верхней части ее имеется небольшой отлив, обеспечивающий это. В нижней же части для плотности используются резиновые кольца, установленные в проточные канавки на гильзе.
Внутренняя поверхность гильзы называется зеркалом, потому что она имеет высокую степень обработки, чтобы обеспечить минимально возможное трение между поршнем и зеркалом.
В двухтактных двигателях в гильзе проделываются на определенном уровне несколько отверстий, которые называются окнами. В классической схеме ДВС используется три окна – для впуска, выпуска и перепуска топливной смеси и отработанных продуктов. В оппозитных же установках типа ОРОС, которые тоже являются двухтактными, надобности в перепускном окне нет.
Головка блока цилиндров
Цилиндр сверху закрыт головкой.
Головка цилиндра вместе с боковыми, стенками цилиндра образует замкнутое пространство, в котором происходит рабочий цикл двигателя. Со стороны, обращенной к цилиндру, в головке выполняется особой формы полость, образующая камеру сгорания.
Так как цилиндры двигателя отливаются в виде одного блока, то и их головки изготовляются в виде общей отливки, называемой головкой блока цилиндров. Материалом для головок блока цилиндров служит обычно серый чугун или алюминиевые сплавы. Головка, изготовленная из алюминиевого сплава, обладает повышенной теплопроводностью. Установка такой головки приводит к снижению температуры рабочей смеси в цилиндрах двигателя в конце такта сжатия, позволяет превысить степень сжатия и, следовательно, мощность двигателя, не нарушая нормального режима работы двигателя.
Головка блока цилиндров и блок цилиндров соединяются посредством болтов и шпилек. Между блоком цилиндров и их головкой устанавливается прокладка, предотвращающая пропуск газов и протекание охлаждающей жидкости в местах стыка.


Конструкция блока цилиндров и головки блока в большой степени зависит от типа и расположения механизма газораспределения. Если применяется клапанный механизм газораспределения с нижним расположением клапанов в блоке цилиндров, то в конструкции блока предусматривается клапанная коробка с каналами для подвода горючей смеси и отвода отработавших газов и со сверлениями для направляющих втулок клапанов. Если применяется клапанный механизм с верхним расположением клапанов (подвесные клапаны), то клапаны, их направляющие втулки, впускные и выпускные каналы размещаются в головке блока цилиндров.
Контроль качества сборки шатунной группы.
После сборки нижней головки шатуна необходимо проверить соответствие ее геометрических размеров и формы требованиям технических условий на сборку. Контроль этих параметров наиболее целесообразно проводить при помощи микрометрического нутромера, который позволяет определить не только точность размеров, но и отклонения формы отверстия нижней головки шатуна от круглости и цилиндричности. Далее переходят к проверке шатуна на прямолинейность, двойной изгиб и параллельность осей отверстий его нижней и верхней головок.
Рис. 1. Шатун: 1 — смазочная канавка; 2 — втулка; 3 — верхняя головка шатуна; 4 — болты; 5 — смазочное отверстие; 6 — прокладка; 7 — гайки; 8 — крышка; 9, 10— вкладыши
Контроль прямолинейности осуществляется при помощи приспособления (рис. 2, а), на пальцах 4 и 7 которого устанавливают шатун 6, закрепляя его винтом 8. Затем на палец 4, на котором размещается верхняя головка 5 шатуна 6, устанавливают призму 3 так, чтобы запрессованные в ней штифты касались контрольной плиты 2. Если все три штифта касаются плиты, то шатун прямолинеен. Наличие зазора между плитой и хотя бы одним из штифтов свидетельствует об отклонении шатуна от прямолинейности. Величину отклонения шатуна от прямолинейности определяют, используя щуп 1.
Контроль шатуна на двойной изгиб выполняют, используя приспособление (рис. 2, б), на пальце 11 которого закрепляют нижнюю головку шатуна, выдвинув предварительно ограничитель 12 до упора в торец нижней головки шатуна, и измеряют при помощи глубиномера 10 расстояние от торцевой поверхности верхней головки шатуна до контрольной плиты 9. Затем шатун поворачивают на 180° и вновь проводят измерения. По разности показаний, полученных в процессе измерений, определяют соответствие шатуна техническим условиям.
Контроль параллельности осей отверстий верхней и нижней головок шатуна осуществляется при помощи приспособления (рис. 2, в), на пальцах 13 и 15 которого устанавливают шатун 14. Затем на палец 15 устанавливают призму 16 так, чтобы запрессованные в нее штифты касались контрольной плиты 17. Если между плитой и хотя бы одним из штифтов имеется зазор, то это свидетельствует об отклонении осей отверстий нижней и верхней головок шатуна от параллельности.
Рис. 2. Контроль сборки шатуна выполнением проверок: a — прямолинейности; б — на двойной изгиб; в — параллельности осей отверстий; 1 — щуп; 2,9, 17— плиты; 3, 16 — призмы; 4, 7, 11, 13, 15 — пальцы; 5 — верхняя головка шатуна; 6, 14 — шатуны; 8 — винт; 10 — глубиномер; 12 — ограничитель
Определение наличия трещин осуществляется рентгеновским или ультразвуковым методами. В некоторых случаях наличие трещин может быть определено простукиванием шатуна (при наличии трещин возникает глухой дребезжащий звук).





































